Переработка фосфогипса
- В процессе проведения НИОКР специалисты ООО "Интегра Ру"детально изучили залежи фосфогипса ОАО «ВМУ» и выполнили подсчет запасов РЗМ с использованием проприетарного математического обеспечения.
- Основные редкоземельные металлы, содержащиеся в фосфогипсе ОАО «ВМУ» - это Y (иттрий), La (лантан), Ce (церий), Pr (празеодим) и Nd (неодим). Матрицу фосфогипса составляет сульфат кальция, оксиды серы и фосфора.
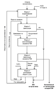
Разработанная инновационная технология извлечения РЗМ из фосфогипса основана на методе сернокислотного разложения и имеет пять стадий:
- Стадия 1. Выщелачивание РЗМ из пульпы фосфогипса 5-15%-ым раствором серной кислоты. Интенсификация за счет применения ультразвука (обеспечивает режим кавитации) и омагничивания.
- Стадия 2. Фильтрация – разделение обработанной пульпы на экстракционный раствор и кек.
- Стадия 3. Кристаллизация – осаждение оксалатов РЗМ с помощью введения в раствор щавелевой кислоты.
- Стадия 4. Фильтрация – отделение осадка оксалатов РЗМ (далее на получение оксидов с помощью термообработки) и водной фазы.
- Стадия 5. Регенерация и доукрепление оборотных растворов.
- Технология является экологически безопасной и фактически безотходной:
- Твердые отходы (кеки) – это технический гипс, который может использоваться (и используется в настоящее время) в производстве строительных изделий.
- Жидкие отходы – удовлетворяют ТУ на техническую воду.
- Газовые выбросы отсутствуют.
- Последующее разделение на индивидуальные РЗО – по стандартной экстракционной технологии. Получение оксидов Ce, La, Nd и Pr чистоты 99,0% плюс концентрат РЗЭ средне-тяжелой группы (Sm, Gd, Y, Eu, Dy, Tb).
Технология — пилотный завод
- По описанной технологии на базе ОАО «ВМУ» спроектирован, построен и введен в эксплуатацию пилотный завод по переработке фосфогипса мощностью ~22 тыс. т ФГ в год (производит до 40 т коллективного концентрата РЗО в год).
- Пилотный завод занимает площадь 216 кв. м и имеет
высоту 13 м. - В технологическую цепочку входят: 6 контактных чанов, 2 нутч-фильтра, 6 кристаллизаторов, разнообразное баковое и насосное оборудование. Установка работает под управлением АСУ.
- Фактически достигнута мощность 2 т/ч по исходному сырью. Наработан коллективный концентрат РЗМ высокого качества.
- Построена линия по изготовлению пазогребневых плит мощностью до 140 тыс. м кв. в год.
- Определены фактические расходы реагентов и энергоресурсов, установлен оптимальный технологический режим.
- Крупнотоннажными испытаниями подтверждено сквозное извлечение РЗМ из фосфогипса в готовую продукцию на уровне 30-50%.
- Пилотный завод имеет автоматическую систему управления (АСУ) и управляется одним оператором.



